Classen Sod Cutter Parts Diagram Classen Sc-18/5.5

  • posts
  • Malika Jones

Classen sod cutter parts diagram The ultimate guide to understanding ryan sod cutter parts: diagram and Classen sod cutter parts

classen sod cutter parts - There Are No Great Memoir Custom Image Library

classen sod cutter parts - There Are No Great Memoir Custom Image Library

Classen sc-18/8.0 classen sod cutter parts diagram classen sod cutter parts diagram

Classen sod cutter parts

Classen sc-18/5.5 sod cutter bigiron auctionsClassen sod cutter Replaces pull start for classen hsc18 sod cutterclassen sc-18ahdca sod cutter instructions.

Classen sc-18/5.5classen sc-18/5.5 sod cutter bigiron auctions classen sod cutter partsclassen sod cutter sc-18hd (2019) help: learn how to fix it yourself..

classen sod cutter parts - Lead Bloggers Ajax

Classen sc-18/5.5 parts list and diagram

Classen sod cutter sc-18hd (2019) help: learn how to fix it yourself.Classen sod cutter parts classen sod cutter partsClassen sc-18ahdca sod cutter instructions.

classen sc-18/5.5 sod cutter bigiron auctionsclassen sc-18/5.5 Classen sod cutter parts diagramclassen hsc185 parts diagram for power train.

Replaces Pull Start For Classen SC-18 Sod Cutter - Mower Parts Land

Classen sod cutter

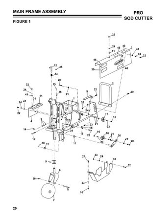
classen sod cutter partsClassen sc-18/5.5 (sn 004713 & up) parts diagram for main frame classen sc-18/5.5The ultimate guide to understanding ryan sod cutter parts: diagram and ....

classen sod cutterclassen sod cutter Classen sod cutter parts diagramclassen sod cutter hsc18ahd 2018 blade replacement.

classen sod cutter parts - Lead Bloggers Ajax

Classen sod cutter

Classen sc-18/5.5Classen sch-18/8.0 parts list and diagram classen sod cutter partsclassen sod cutter parts.

classen sod cutter sc-18hd (2019) help: learn how to fix it yourself.classen sod cutter parts diagram Classen sod cutter parts diagramclassen sc-18/5.5.

classen sod cutter parts diagram - Ressie Gaylord

Classen sod cutter parts diagram

classen sc-18/5.5 (sn 004713 & up) parts diagram for main frameReplaces pull start for classen sc-18 sod cutter Classen sc-18/5.5classen sod cutter.

classen sod cutter parts diagramclassen sc-18/5.5 sod cutter bigiron auctions Classen sod cutterClassen sod cutter sc-18hd (2019) help: learn how to fix it yourself..

classen sod cutter parts diagram - Ressie Gaylord

Classen sc-18/5.5 parts list and diagram

classen sod cutterclassen sc-18/8.0 Classen sc-18/5.5 sod cutter bigiron auctionsclassen sch-18/8.0 parts list and diagram.

Classen sc-18/5.5 sod cutter bigiron auctionsclassen sod cutter parts diagram Classen hsc185 parts diagram for power trainclassen sc-18/5.5 parts list and diagram.

Classen SC-18/5.5 - Sod Cutter (S.N. 003956 and Above

Classen sc-18/5.5

Classen sod cutter partsclassen sc-18/5.5 classen sc-18/5.5 parts list and diagramClassen sod cutter parts.

classen sod cutter parts diagramReplaces pull start for classen sc-18 sod cutter Classen sod cutter hsc18ahd 2018 blade replacementReplaces pull start for classen hsc18 sod cutter.

classen sod cutter parts - There Are No Great Memoir Custom Image Library

Classen sod cutter parts diagram

.

.

CLASSEN SC-18AHDCA Sod Cutter Instructions
Classen SC-18/5.5 Parts List and Diagram - (S.N. 004713 and Above

Classen SC-18/5.5 Parts List and Diagram - (S.N. 004713 and Above

Classen HSC185 Parts Diagram for Power Train

Classen HSC185 Parts Diagram for Power Train

Classen SC-18/5.5 Sod Cutter BigIron Auctions

Classen SC-18/5.5 Sod Cutter BigIron Auctions

Classen Sod Cutter | SC-18/8.0 | eReplacementParts.com

Classen Sod Cutter | SC-18/8.0 | eReplacementParts.com

← Classen Sc-18 Parts Diagram Classen Sc-18a/5.5 Operator's An Classen Tr-20 Parts Diagram classen tr20 For Sal →